岁末年初,自武汉爆发的新型冠状病毒肺炎疫情席卷全国,14亿国人万众一心,全力抗击疫情。英国上市公司官网365经管学院会计学专业积极响应教育部“停课不停教,停课不停学”指导思想,按照学校的统一部署,充分利用和挖掘“智慧教学平台”各项资源,组织发动本专业全体师生有序开展“云上实践教学”。
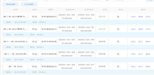
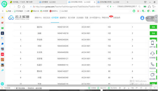
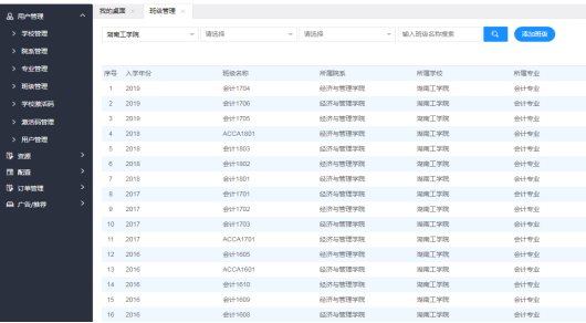
新冠疫情防控期间,“云上实训”平台充分显示了其在助力专业实践教学方面的作用。自2月中旬开始,会计学教研室统一组织、发布各项实训任务,目前有1000余学生、20余个班级通过该平台进行毕业实习、专业课程实训、岗位实训,半个多月完成题量接近10000;《中级财务会计学》、《基础会计学》等专业课程的混合式教学都依托该平台进行。
在开展“云上实训”实践教学的同时,利用党支部主题党日活动,开展了“新冠疫情防控期间网络教学研讨”,对同学们参与“云上实践教学”及老师们依托“云上实训”开展混合式课程教学的情况进行了深入研讨,对师生使用平台过程中遇到的问题等进行了指导。
通过这一阶段的实训,有不少同学们认为:“通过实训进一步加强了对理论知识的理解和基本方法的应用,养成了严谨的职业素养,为以后工作打下坚实的基础”。还有同学说:“云上实训可以让我学到许多课本中学不到的知识,发现自己学习中的不足。如刚开始填制凭证时,多次出现日期不规范或者子科目名称未填的情况,通过实训可以让我及时更正这些错误,以后实训时更加仔细,这些都是纯理论教学教不会我的。纯理论教学不能很好的将真实的公司会计处理与基本理论相联系,但是云上实训可以解决这一问题,可以让我在熟悉业务流程的基础上更好的理解知识点,有一种当会计的真实感觉。”
无论是战“疫”期间,还是今后回归正常教学,英国上市公司官网365会计学专业将会继续发挥和挖掘“云上实训”平台在“云上实践教学”中的作用,并对专业课程实训和毕业生“顶岗”实习效果进行调研总结,持续提升同学们的专业实战能力和职业素养。


我们坚信,只要大家团结一心,众志成城,坚守和热爱“云上实践教学”这一方热土,待到春暖花开时,我们的美丽湖工将有一番别样的教学新风尚!(经济与管理学院)